罗Sir说—行业 | “元宇宙”商标不是财富密码, 小心申请被驳via.元宇宙

| 罗Sir说 原创出品 |

根据国家商标局官网的查询结果,“元宇宙”相关商标申请在2021年成爆发态势,2021年下半年申请“元宇宙”系列商标就有4000余件,主要申请类别集中在9、35、36、38、41、42、45类上。2021年可以说是“元宇宙”的元年,就连知名社交平台Facebook也宣布改名进军元宇宙行业,因此,很多企业和个人都瞄准了这一财富密码,积极抢注“元宇宙”相关商标。

科技巨头网易旗下的网易有道信息技术(北京)有限公司就申请注册了“有道元宇宙”商标,涉及分类为教育娱乐。就连日用品制造商也在积极抢注元宇宙商标,比如重庆登康口腔护理用品股份有限公司就申请注册了多个“冷酸灵元宇宙”“灵宇宙”“LESENING-METAVERSE”商标。圣诞前夕,富士康也积极注册了“fii 元宇宙”“fii meta”多项商标,现当前商标的申请状态大多为“商标申请中”或“等待实质审查”。

不得不说,积极注册“元宇宙”商标的法人或者自然人是很有远见的,以为可以再现当年“IPAD”商标案,成为第二个唯冠公司。但是却忽视了“元宇宙”商标的申请难度。

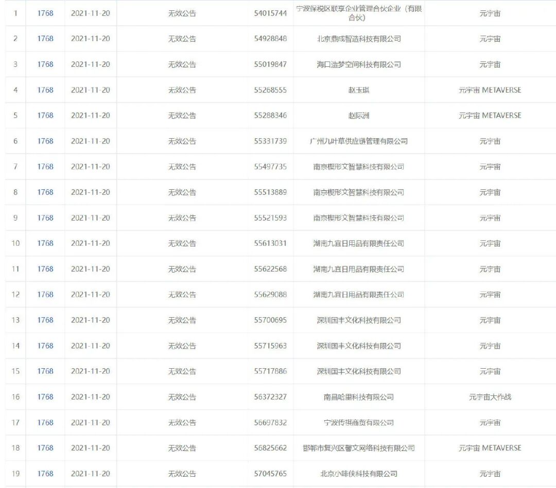
单就11月一期公告来看,“元宇宙”商标被大量宣告无效。

Image

根据2019年新修订商标法第五章的规定,商标被驳主要有以下几类情形:

(1)违反绝对拒绝注册事宜,主要指违反《商标法》第十条、第十一条、第十二条及以欺骗手段、不正当手段获得注册的情形;(2)侵犯驰名商标;(3)代理人代表人或特定关系人抢注;(4)与在先商标相同或近似;(5)侵犯在先权利;(6)商标含有虚假地理标志;(7)恶意囤积等。

而“元宇宙”商标被宣告无效主要是因为违反绝对拒绝注册事项,具体指违反《商标法》第十条第一款第(七)项规定,

“带有欺骗性,容易使公众对商品的质量等特点或者产地产生误认的;”

很多人质疑 “元宇宙”商标在2021年9月之后申请量急剧增加,是因为恶意抢注商标被驳,但事实并非如此,经检索,最早在今年3月申请的元宇宙商标也是被驳回状态。

Image

因此,申请“元宇宙”商标还是需要谨慎的,否则大概率会收到国家知识产权局下发的《商标驳回通知书》,被告知:

“元宇宙(METAVERSE)为一种新型的未来数字技术,具有低延迟、沉浸式、实时性等特点。该文字用在指定商品上,易使消费者对商品产生误认,不得作为商标使用。”

罗Sir说

罗Sir说是全球区块链合规联盟官方自媒体,全球区块链合规联盟提供相关企业业务合规资质服务,欢迎通过邮箱service@gbcuf.com或微信与我们进行更详细的业务沟通。

发表回复

您的电子邮箱地址不会被公开。 必填项已用 * 标注